- Apple údajně stále přemýšlí nad vlastní skládačkou
- Podle patentu by mohl vsadit na rolovací displej
- Představení konkrétního zařízení v dohledné době je nicméně nereálné
Segment ohebných telefonů je sice už poměrně etabovaný, přesto se ale nejedná o masově rozšířená zařízení. Aktuálně na poli skládaček dominuje Samsung, který včas zachytil rostoucí trend a dokázal vypilovat svá zařízení do použitelného stavu a zároveň snížil cenu na přijatelnou hranici i pro běžného uživatele. Celý technologický svět nicméně očekává, kdy přijde se svým ohebným zařízením Apple, kterým by dost možná mohl změnit pravidla hry, jako se mu to už několikrát v minulosti podařilo.
Dočkáme se někdy ohebného iPhonu?
Dohady nad tím, kdy by mohla firma z Cupertina svůj ohebný telefon představit či jakou by mohl mít potenciálně podobu jsou poměrně časté, avšak aktuálně nic nenasvědčuje tomu, že by se Apple chtěl do takto riskantního podniku pustit. Server AppleInsider nicméně upozornil na nový patent, který možná dává tušit, jakým směrem by se Apple v případě, že se odhodlá vytvořit vlastní skládačku, mohl potenciálně pustit.

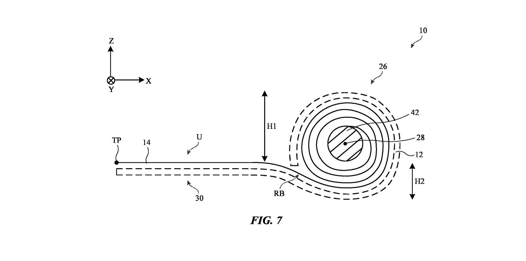
Patent konkrétně popisuje „elektronické zařízení s rolovacím displejem, kdy lze displej přesouvat mezi nesrolovaným stavem, kdy je displej rovinný, a srolovaným stavem, jehož účelem je snadnější uskladnění.“ Letmý popis doplňuje také nezbytné grafické znázornění, které Apple popisuje jako „boční pohled na příčný řez ilustrativním elektronickým zařízením, u kterého má vnější povrch displeje první oblast, která při válcování přijímá tlakové napětí, zatímco druhá oblast přijímá tahové napětí v souladu s provedením.“
První zmínky o možném využití rolovacího displeje v zařízení se v souvislosti s Applem poprvé začalo hovořit už v roce 2015, nicméně v té době se jednalo spíše o sci-fi myšlenku. Dnes jsou již první zařízení s rolovacím displejem k dispozici pro první zákazníky, avšak problém je v tom, že se jedná o televizory. U nich přeci jen uživatelé nerolují displej tak často, jako by to dělali v případě chytrého telefonu. Především odolnost při běžném používání bude pro Apple nejspíše hlavní překážkou, proč se do své vlastní skládačky ještě nepustil.




