- Výměna baterie patří mezi nejčastější opravy u chytrých zařízení
- Google si nyní patentoval nový typ umístění, který případné výměny značně zjednoduší
- Je otázkou, zda se ho ale někdy dočkáme i v praxi
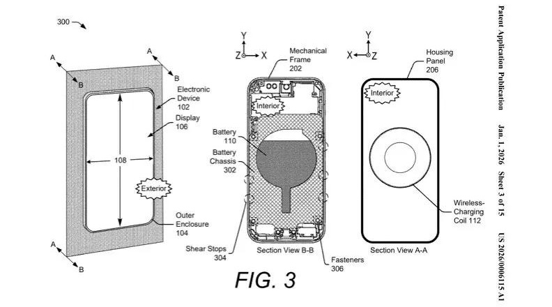
Baterie je jednou z největších součástek v chytrém telefonu a také jednou z těch, která se mění nejčastěji. Od doby, kdy se výrobci začali zaměřovat na obtížně rozebíratelné unibody konstrukce a upustili od uživatelsky vyměnitelných akumulátorů, je nicméně velká otázka, jak celý telefon poskládat tak, aby splňoval přísné standardy a nároky uživatelů, ale zároveň byl co možná nejsnadněji opravitelný. Google podal patentovou přihlášku u Úřadu pro patenty a ochranné známky Spojených států, ve které popisuje nový způsob konstrukce baterií v telefonech a dalších zařízeních, aby je bylo možné snadněji a bezpečněji vyjmout nebo vyměnit.
Snadná a rychlá výměna baterie bez kompromisů
Nový design baterie neomezuje tenký a koherentní design, kterým se vyznačují moderní prémiové smartphony a tablety. Nová patentová přihláška popisuje systém umožňující výměnu baterie. Zjednodušeně řečeno, baterie není přilepena lepidlem, ale je umístěna v kovovém rámu, který ji chrání před namáháním, ohnutím, zkroucením nebo pádem. Díky tomuto designu lze baterii snadněji vyjmout nebo vyměnit, což potenciálně zlevní opravy a sníží množství odpadu.
Návrh Googlu zahrnuje funkce, jako jsou zarážky proti posunutí, mechanické zámky a drážky, které pomáhají baterii pevně zajistit na jejím místě. Z technického hlediska by to mohlo baterii učinit bezpečnější a snáze vyjímatelnou během oprav ve srovnání s těmi, které jsou přilepené. Ještě důležitější je, že Google zdůrazňuje, že tento design neohrozí přítomnost klíčových funkcí, jako je bezdrátové nabíjení, odolnost proti vodě a elegantní unibody design.
Diagramy a popisy v patentové přihlášce naznačují, že by se to mohlo týkat nejen běžných a skládacích telefonů, ale také tabletů, notebooků, nositelných zařízení a příslušenství. Závěrem stojí za to zmínit, že patentová přihláška nemusí nutně znamenat, že se podobného mechanismu v praxi brzy dočkáme. Mnoho věcí, na které Google získává patenty, se nikdy nepřiblíží finální realizaci. Přesto se jedná o velmi zajímavý pohled na to, jak společnost uvažuje o budoucnosti designu zařízení a jejich opravitelnosti.







