Za dva týdny Apple koná svoji první letošní tiskovou konferenci, na níž představí některé produkty pro letošní jaro. S jistotou můžeme očekávat představení malého 4″ iPhonu SE společně se zmenšeným 9,7″ iPadem Pro, a spekuluje se také o tom, že bychom se mohli dočkat nových variant první generace, respektive jejich řemínků. Ty se začaly prodávat loni v dubnu, představeny však byly již v roce 2014 a tak se nabízí otázka, kdy na svět přijde další generace a jaké změny s sebou přinese? Spekulací a náznaků je více než dost, tak si je pojďme společně projít.
Design beze změny?
Někomu se může zdát vzhled Apple Watch příliš obyčejný, jiní naopak jejich střídmý design ocení. Očekávat od Apple Watch 2 revoluci, například kruhový číselník, však zřejmě očekávat nemůžeme, maximálně dojde k lehce odlišnému zaoblení hran, případně ke zmenšení celkové tloušťky. Přijít však mohou varianty z nových materiálů, Apple údajně koketuje s wolframem, paladiem, titanem a platinou.
Koncept ADR Studios pro 9to5Mac
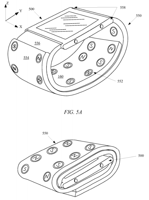
Tyto materiály by se mohly být použity jak na tělo hodinek, tak na náramky. Ty by navíc mohly přijít s novými mechanismy zapínání, Apple si kupříkladu patentoval magnetický pásek, který může v případě nepoužívání hodinky chránit. Kromě toho má být tento pásek možné srolovat tak, aby posloužil jako stojánek.
Nové zdravotní funkce
Z jiné patentové přihlášky zase můžeme odhadnout, že Apple bude nadále pokračovat v úsilí učinit z Apple Watch zařízení, které pečlivě hlídá zdraví svého uživatele. V patentu nazvaném Care Event Detection and Alerts je uvedeno, že hodinky poznají, že je jejich nositel v nebezpečí, a automaticky přivolají první pomoc.
Apple v přihlášce zmiňuje konkrétní příklady jako nehody v autě či na kole, srdeční infarkt, únos, přepadení a další scénáře. Hodinky mají při detekci mimořádné události přizpůsobit svoji výstrahu podle závažnosti – při upadnutí seniora se například ozvou rodinnému příslušníkovi, při nedetekování srdečního tepu rovnou rychlou záchrannou službu. Tuto funkci by mohla dostat i první generace hodinek v rámci softwarového updatu, Apple ji ale bude muset řádně otestovat, aby nedocházelo k planým poplachům.
Vyšší výkon, lepší výdrž a možná i samostatnost
Od uvedení Apple Watch na trh se vývoj komponent nezastavil, a tak můžeme očekávat zlepšení po všech stranách. Narůst by měl výkon procesoru, inženýři z Cupertina již údajně připravují čipset postavený z jader Cortex-A32, tedy nejmenších nízkonapěťových jader architektury ARMv8-A. Oproti původnímu čipu má pochopitelně dojít k nárůstu výkonu a snížení energetické náročnosti, což jsou patrně nejslabší místa současných Apple Watch.
Zvýšenou výdrž by také mohly zajistit nové OLED displeje, na nichž Apple spolupracuje s korejskými giganty Samsungem a LG. Paradoxně úspora má přijít pouze v jejich tloušťce, zatímco velikost a rozlišení mají zůstat na původních hodnotách. Díky menší tloušťce se však v těle najde místo pro kapacitnější baterii.
Co se týče konektivity, Apple se údajně bude snažit omezit závislost hodinek na spárovaném iPhonu na minimum. Řešením by v tomto případě mohla být integrovaná eSIM, která by zajišťovala datové přenosy v sítích 3G/4G, díky čemuž by hodinky pracovaly zcela autonomně. Dlouze se také spekuluje o umístění kamerky FaceTime na čelní stranu hodinek. Využití by měla najít především při videohovorech, jisté náznaky této funkce již byly údajně nalezeny v kódu WatchOS 2.
Datum představení a cena
Jak jsme již na začátku článku předeslali, v tomto měsíci Apple Watch 2 nejspíše očekávat nemůžeme. Náš odhad je, že Apple bude chtít dodržet dvouletý cyklus, což by znamenalo představení v září a zahájení prodejů zhruba za rok.
Koncept od Erica Huismanna
Pokud se spolehneme na informace z dodavatelských řetězců, můžeme se dočkat o něco dříve. Předseda společnosti Quanta (která Apple Watch vyrábí) nedávno sdělil investorům, že limitované množství druhé generace Apple Watch může být hotové na konci letošního června, případně července. To by mohlo znamenat, že se Apple připravuje na zářijovou premiéru a začátek prodeje krátce poté. Ceny můžeme patrně dle zvyklostí očekávat stejné jako v případě první generace, tedy od 349 USD (10 990 Kč) do 10 000 USD (365 tisíc Kč).









