V souvislosti s budoucími modely společnosti Samsung se stále častěji hovoří o flexibilních zařízeních. Pokud budeme brát v potaz zákulisní informace, první vlaštovky se máme dočkat v prvním čtvrtletí roku 2017. O možné podobě víme díky několika únikům a především dříve podaným patentovým přihláškám, které odhalují smýšlení jihokorejských inženýrů.
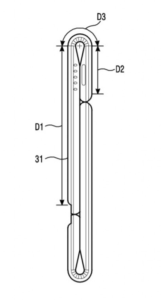
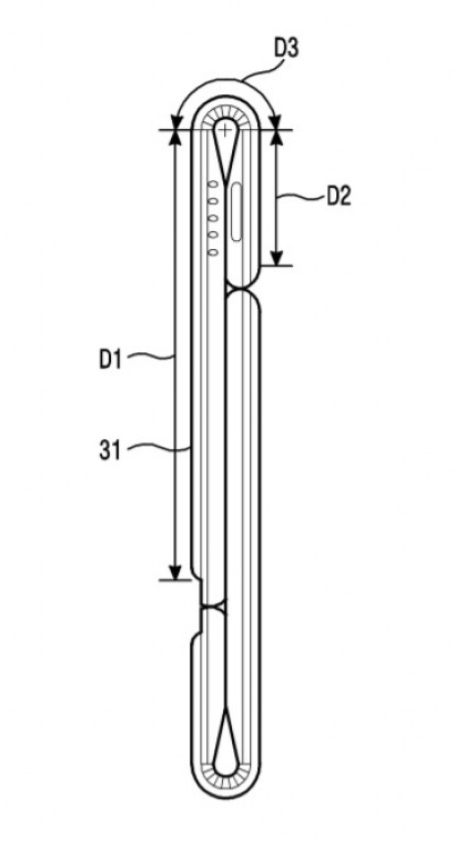
Například patent z roku 2014 popisuje flexibilní smartphone, který se skládá z několika částí. Za zmínku stojí především princip ohýbání, kdy jeden z modulů obsahuje kromě domovského tlačítka fotoaparát a další komponenty. S podobným typem konstrukce se setkáváme na oficiálních renderech výrobce poměrně často. V době podání přihlášky byla nejpalčivější otázkou životnost a zobrazovací schopnosti panelu v často namáhaných místech. Testy raných prototypů totiž odhalily první viditelné degradace vlastností již po několika stech ohnutí.
Součástí dokumentace patentové přihlášky je černobílá fotografie, která zachycuje raný prototyp skládacího smartphonu
Podle nejčerstvějších zvěstí se ovšem vývoj flexibilních displejů za poslední tři roky posunul o velký kus vpřed. Současné generace panelů zvládají mechanické namáhání daleko lépe a proto je lze integrovat do komerčního prostředí. Za předpokladu, že inženýři nenarazí na závažnější komplikace, lze chystanou premiéru skládacího smartphonu s logem Samsungu považovat za velmi reálnou. Otázkou však zůstává, na koho bude exotická novinka mířit a zda dostatečně zaujme širokou veřejnost.


