Trend ohebných zařízení zaujal také inženýry v Microsoftu. Nasvědčuje tomu nedávný patent, který poodhaluje, jak by mohl fungovat ohebný displej na zařízení z rodiny Surface. Patent byl podán už před šesti měsíci, oficiálně jsme se o něm však dozvěděli před několika dny.
Ohebný Surface?
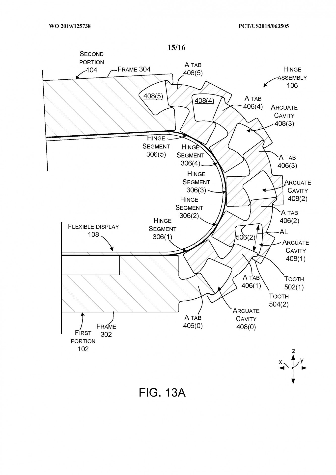
Patent mimo jiné zahrnuje také několik obrázků, které blíže ilustrují technické řešení ohybu. Microsoft zde pracuje s mechanismem, jenž se ohýbá dovnitř. Samotný pant se velmi podobá řešení, které známe ze zařízení Surface Book. Z obrázků vyplývá, že takový mechanismus by nemusel uprostřed displeje vytvářet rýhu jako v případě Samsungu Galaxy Fold.
Microsoft v minulosti lákal na skládací Surface s kódovým označením „Centaurus“. Toto zařízení však ohebný displej nenabízelo, místo toho mělo dvě obrazovky s pantem mezi nimi. Jako obvykle dodáváme, že se stále jedná o pouhý patent, který se nikdy nemusí dočkat implementace v komerčním produktu. Líbil by se vám Surface s ohebným displejem? Dejte nám vědět v komentářích.



