Prvním novodobým smartphonem s „vykousnutým“ displejem se stal Essential Phone, nejvíce ale toto řešení zpropagoval Apple s iPhone X. Jeho „notch“ (anglický výraz pro zářez) se stal vpravdě ikonickým, a konkurenční výrobci smartphonů se snaží na jeho vzhledu přiživit, což dokazuje spousta telefonů představených na skončeném veletrhu MWC v Barceloně. Přestože se displej s výřezem stává jakýmsi poznávacím znamením moderního telefonu, příští Essential Phone se jej možná pokusí zbavit.
https://twitter.com/Arubin/status/969788083284541440
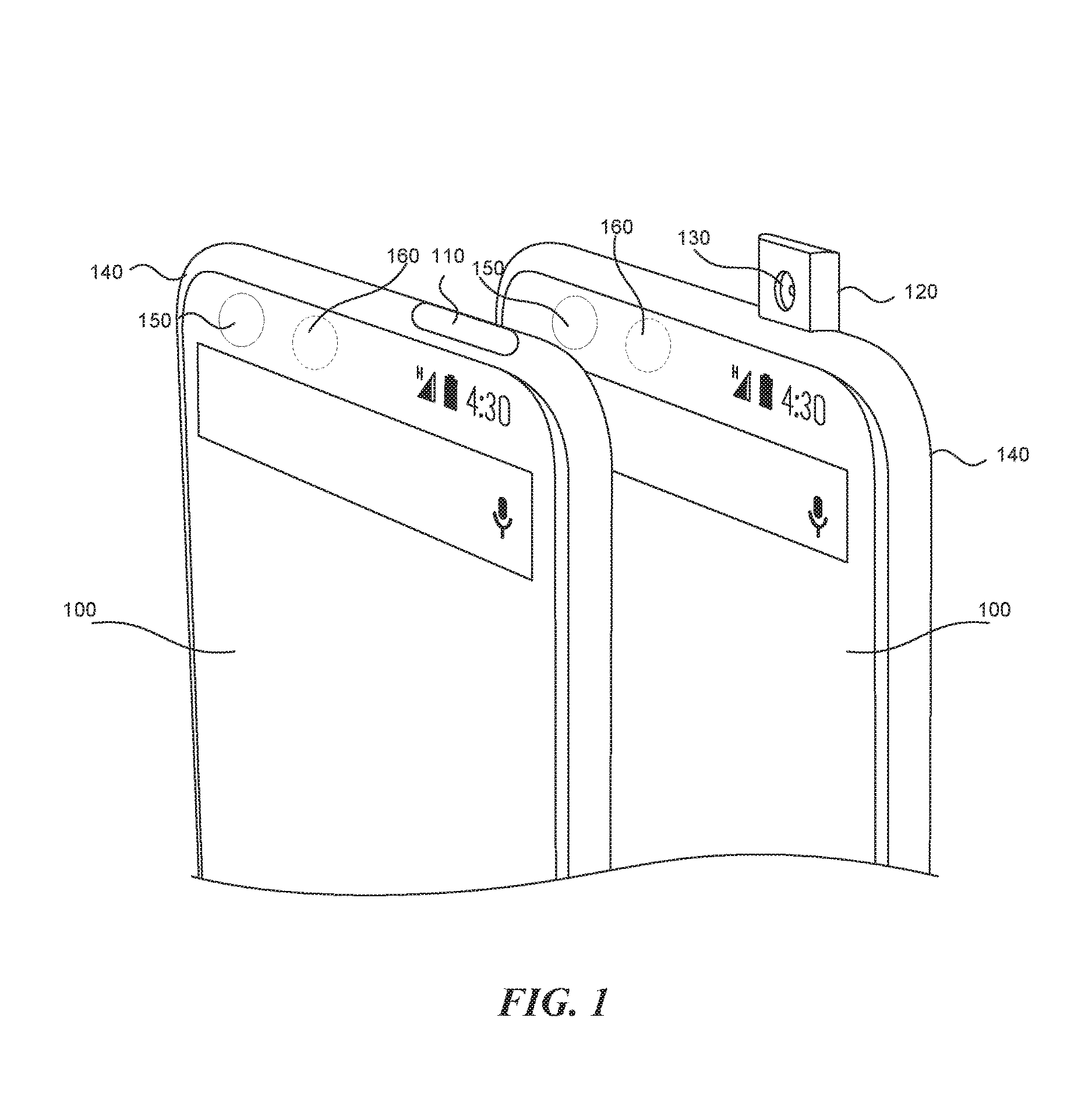
Otec Androidu a zakladatel firmy Essential Andy Rubin na svém Twitteru přiznal, že je jedním z držitelů patentu nazvaného „Apparatus and method to maximize the display area of a mobile device“, který řeší způsoby, jak maximalizovat oblast displeje u mobilních zařízení.
Patent z května roku 2016 odhaluje několik způsobů, kam „strčit selfie” kamerku, mezi nimi například vysouvací modul z horní strany telefonu, který na MWC demonstrovala společnost Vivo u svého konceptu zcela bezrámečkového smartphonu.
Další možností má být umístění přední kamerky do jednoho z horních rohů, kde by výřez v displeji nepůsobil tak rušivým dojmem jako uprostřed. Toto řešení si možná osvojí Xiaomi u svého budoucího modelu Mi Mix 2S.
Dočká se některé z uvedených implementací i druhá generace Essential Phone, bude-li nějaká? To zatím Andy Rubin ani nenaznačil.


