- Sony si patentovalo ovladač, který zvýší komfort hráčům
- Přímo v gamepadu by mohli nabíjet a párovat bezdrátová sluchátka
- Prozatím není jasné, zda se tohoto ovladače dočkáme v praxi
Bezdrátová sluchátka jsou při hraní nepostradatelným pomocníkem, pokud se rádi ponoříte do příběhu nebo hrajete hry pro více hráčů a chcete zůstat konkurenceschopní. Stále se ale jedná o další kus příslušenství, který je potřeba mít stále po ruce, a především vždy s plnou baterií, aby vás nebrzdilo během hraní. To může být občas problém, nicméně společnost Sony, zdá se, přišla s řešením, které je poměrně elegantní. Alespoň to prozrazuje nejnovější patent, jenž by se jednou mohl dostat až do výroby.
Budeme nabíjet sluchátka přímo z ovladače?
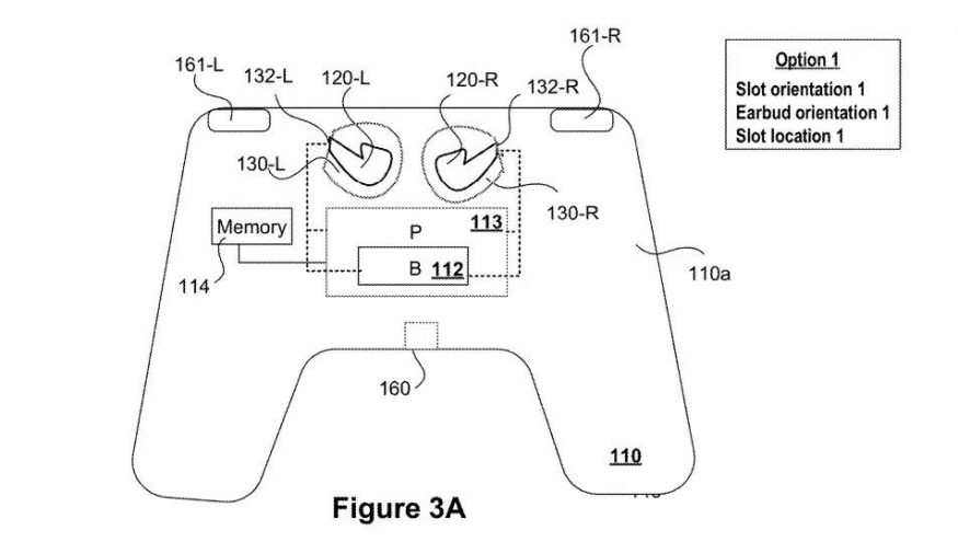
Patentová přihláška popisuje umístění bezdrátových špuntů přímo do těla herního ovladače, odkud se nejen mohou nabíjet, ale také je budete mít vždy po ruce a nikdy nezapomenete, kde jste je odložili. Tato funkce by už tak poměrně zajímavému ovladači DualSense přidala další vychytávku, kterou konkurence nenabízí. V současné době se DualSense může pochlubit například adaptivními triggery, které upravují svou tuhost na základě toho, jakou činnost ve hře vykonávají. Podpora pro dodatečné příslušenství je ale trochu jiná káva.

Sluchátka by podle patentu měla být také snadno spárovatelná s dalšími zařízeními, ke kterým bude připojen ovladač. Jednoduše tedy například k počítači připojíte jak ovladač, tak i sluchátka, aniž byste museli zvlášť párovat obě zařízení. Spojení sluchátek s ovladačem ale nebude pouze o zjednodušení párování – v patentu se například uvádí, že sluchátka do uší a vestavěný mikrofon a reproduktor v ovladači mohou být společně použity k lepšímu zpracování zvuku a zlepšení jeho kvality.
Sony se v rámci svého příslušenství dlouhodobě snaží zlepšovat uživatelský zážitek hráčů, mimo jiné skrze své gamepady, které v sobě často mají technologie, které jinde nenajdete. Ačkoli je tento patent bezesporu zajímavý, není jisté, zda k jeho realizaci skutečně někdy dojde, či zda se Sony jen pojišťuje pro případ, kdyby měl podobný nápad někdo z konkurentů.




